2025-02-10 来源:随着全球互联网行业的迅速发展,社交平台的竞争日益激烈,而最近小红书的爆发式增长,仿佛一颗冉冉升起的明星。这个曾经以服务中国用户为主的小型平台,凭借一次偶然的契机,短短几天内跃升为全球社交平台的新宠。随着流量的涌入,小红书的国际化进程悄然加速,成为了全球社交平台格局中的重要一员。小红书究竟是如何在众多竞争者中脱颖而出,并迅速吸引国际用户的呢?
从“洋抖”到“小洋书”:流量风口中的意外之喜今年以来,TikTok(俗称“洋抖”)在国际市场遭遇封停令,这一举措直接引发了大量海外用户的社交需求转移。原本一度被海外用户视为“洋抖”替代品的小红书,骤然迎来了前所未有的流量红利。短短几天内,小红书登上了全球87个国家的App Store免费总榜首,这一现象级的成就让人惊叹不已。
面对这一波突如其来的流量潮,许多网友纷纷调侃称,“天上地下,国内国外,只有一个Rednote”。这一幽默而直白的表达,恰恰反映了小红书在短时间内获得全球用户关注的巨大突破。国内外用户开始在小红书上分享生活照片、讨论美食、推荐旅游景点,甚至还开始流行“离了个特朗普”这样的表情包。无论是中美用户,还是其他国家的社交爱好者,小红书的互动氛围快速覆盖了全球,瞬间成为了一个跨国社交平台。

全球化扩展:小红书如何打造“国际书”小红书的这次“全球化”进程,实际上是多方面战略合力的结果。小红书作为一个创作平台,原本便有着较强的社交属性和聚合能力。它不仅提供商品推荐、旅行攻略、美食分享等本土化,还依托中国市场强大的供应链优势,吸引了全球用户的关注。如今,这一切似乎都与国际用户的需求完美契合,特别是在TikTok面临封停后,全球用户的社交需求迫切寻求新的出口,而小红书的存在正好满足了这一空白。
与此小红书在品牌建设上的投入,也让它从一个国内平台,逐渐向全球扩展。通过多元化的形式、丰富的创作者生态以及与国际用户的紧密互动,小红书成功地从一个本土平台转型为一个国际化的平台,满足了越来越多用户的社交需求。
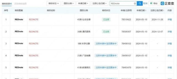
商标布局:走向全球的法律护航正如任何一家企业在全球扩展时所面临的挑战一样,小红书的国际化进程不仅仅是流量的涌入和用户的增长,更需要通过商标注册等法律手段来保护其品牌。早在2024年5月,小红书公司便已经启动了“REDnote”商标的注册申请,涉及通讯服务、教育娱乐、科学仪器等多个国际分类。随着商标注册的推进,小红书逐步建立起了一套完善的品牌保护体系。
除了“REDnote”,小红书还注册了多个英文商标,并成功布局了若干防御商标,如“小红塾”、“小红淑”等。这些商标不仅保护了小红书在国际市场上的品牌权益,也为其未来的发展预留了更多的空间。这一系列商标布局,体现了小红书对全球市场的战略规划和对知识产权的高度重视。

全球化的挑战与机遇:小红书如何应对?尽管小红书已经迎来了一波强劲的流量红利,但这并不意味着它可以高枕无忧。全球化的商业环境充满了不确定性和挑战,企业要想在全球市场中持续站稳脚跟,必须具备强大的内生竞争力。小红书若想从“洋抖”的影子中彻底摆脱,并在全球社交平台市场中占有一席之地,就需要在产品创新、服务优化和市场开拓方面付出更多的努力。
流量市场的风云变幻,谁也无法预测下一个爆发点会以何种形式出现。对于小红书来说,如何保持现有的市场优势,并在国际化的进程中提升品牌核心竞争力,将是它未来面临的重要课题。可以说,流量红利只是短期内的机会,而真正能让小红书走得更远的,依然是它持续的创新能力和对市场需求的精准把控。
小结:全球化之路,小红书能否走得更远?小红书的全球化之路,充满了意外与机遇。从最初的小型国内社交平台,到如今逐渐成为全球范围内重要的社交平台之一,小红书的崛起既是偶然,也是必然。在这一过程中,流量的快速增长固然是它突围的重要因素,但更深层次的品牌布局、商标注册和全球用户的互动,才是推动其走向国际化的真正动力。
尽管如此,全球化并非一帆风顺,小红书仍然面临着激烈的国际竞争和复杂的市场环境。只有不断提升品牌影响力,持续优化产品和服务,才能在全球化的浪潮中占据一席之地。无论是在全球社交平台的竞争中,还是在互联网行业的大棋盘上,小红书都将书写属于自己的国际化传奇。
熊导航官网,收罗天下等资讯。
刑侦剧再度掀起热潮,强强联手三大视频平台,推出的《雾中系铃人》仅仅六小时内就荣登榜首,创下开播速度与口碑齐飙的佳绩。这部···
八卦资讯“寒露不算冷,霜降变了天”,这句话意味着到了霜降节气的时候,气温已经急剧下降了。霜降作为秋季的最后一个节气,它的到来也意···
发现三月的春风轻拂着通化山城,曾经覆满积雪的大地开始逐渐苏醒。冰雪在春风的呼唤下融化成细碎的水珠,流淌过山涧,汇入大自然的脉···
旅行在这个追求健康和美丽的时代,大龄明星为何能保持年轻容颜?刘德华、李冰冰、胡兵等明星都有独到的养生之道,让我们一起学习借鉴···
专题在连续四天的失踪之后,小女孩的下落仍未被找到,这令黄爸爸焦虑万分。他在寻找女儿的过程中尝试了各种方法,然而效果并不明显。···
明星入冬后,气温骤降,大家纷纷开始迎合寒冷天气,调整日常饮食,迎来了一波“冬补”热潮。在这个时候,各类肉食成为餐桌上的主角,···
八卦资讯没想到,一个充满“科技与狠活”的鸭脖产品竟成为新晋网红,而这个奇迹的背后是曹氏鸭脖的巧妙征服。为何这种工业辣能够如此受追···
八卦资讯在这个被誉为最好时代的今天,人们的生活水平提高,娱乐方式多样,然而,清华大学历史系教授彭林却发出了一声深刻的警告:我们正···
八卦资讯人间烟火气,最抚凡人心!毫无疑问,厨房是一个家庭中最能彰显烟火气的地方,谁不想在结束一天的疲惫工作后,回到爱的港湾,吃上···
八卦资讯巨菌草,一种亩产30吨、可连续收割15年的作物,其高大雄壮的身姿令人瞩目。本文将深入探讨巨菌草的特殊之处以及其在荒漠治理···
八卦资讯Copyright © 2023 熊导航 本站资源来源于互联网 闽ICP备2021009118号-5 XML地图